Lösung für Radlager-Problem hinten DIY

Partner:
Feiertag?
  • Hallo Leute,


    bei der Plattform Punto/Corsa/MiTo sind die hinteren Radlager ein bekanntes Problem.
    Da bei mir bei 140tkm das dritte Mal laut wummernde Geräusche auftraten musste etwas passieren.
    Die Lösung gibt es bei Opel.
    In der Feldabhilfe 2500 wird beschrieben, dass ein zusätzlich verbauter Gummi-Dichtring Schmutz daran hindern soll, von hinten ins Radlager einzudringen.


    Hier ein altes Lager, man sieht den Schmutz sehr deutlich.



    Der Ring hat die Teilenummer 13342219 und die Katnr. 418004. Ein Ring kostet etwa 3€.


    Vorgehensweise:


    - Rad runter
    - Bremssattel inkl. Träger runter (12er & 17er Nuss)
    - Bremsscheibe runter
    - Fettkappe runter (kann kaputt)
    - Nabenmutter lösen (32er Nuss)
    - Nabe runter
    - Bremsschutzblech runter (3x 10er Nuss)
    - alles gut reinigen, Gummiring einfetten und auf den Achszapfen stecken
    - die Rückseite des neuen Lagers einfetten
    - die Nabenmutter kriegt 280nm (das sind 56kg am Ende eines handelsüblichen 0,5m langen Drehmomentschlüssels, eine junge Dame kann sehr hilfreich sein)
    - alles in umgekehrter Reihenfolge wieder zusammen



    Das Ganze ist aus meiner Sicht gut für DIY, mal abgesehen von der 32er Nuss. Aber Achtung: ihr seid an der Bremse zugange. Im Zweifel Profis überlassen.
    Alles auf eigene Gefahr. Keine Gewähr!


    Beste Grüße,
    Marcel


    Ein Zwerg, der sich hohe Schuhe kauft, bleibt immer noch ein Zwerg!
    (Bernd Stromberg)

    Mein Auto: Alfa MiTo Turbo tuned by Mazza-Engineering ME-S2, Ansaugung modifiziert, K&N Tauschfilter, Magnaflow 200-Zeller, G-Tech AGA, Forge Wastegate gelbe Feder, Wavetrac Sperre, etc.pp.
  • Danke für die Info :top:
    Gruß Hektor

    Mein Abarth Punto Evo: Schwartz ,G-tech cup-gt,KAT Ausgang 70,G-tech und Novitec Short Shifter,HG Ansaugrohr,HG LLK HFR,Kaltluftschlauch,bearbeiteter Luftfilterkasten,K§N einsatz,HJS 200 zeller kat ,Stahlflex-Bremsleitung,ATE Super Blue,Bilstein b14,Motec 8x18, Verbreiterung 10mm Vorne und 15mm Hinten,Prosport Oltemperatur Oldruck und Ladedruck anzeigen, Domstrebe vorne und hinten, Querlänker Streben unten
  • Meine sind nach 100000km noch tiptop bei 35000 waren meine K.o von hinten kam Wasser rein und es war eigentlich kein Fett drinn.



    Glg

    In doubt flat out =) Colin McRae

  • Super Info und Anleitung. :top:


    Gruß Apollo

    Mein Abarth Punto Evo: Esseesse mit Blubbern, Stahlflexleitungen in ROT, G-Tech Cup GT, HJS 200 Zellen Kat, HG Air Intake + CDA Box, HG HFRS Ladeluftkühler, H&R + Eibach Spurplatten, Rote Silicone Racing Hoses, 18 Zoll Abarth Felgen, Prosport Gauges, Brembo High Performance Bremsscheiben mit HP2000 Belägen, Bilstein B14, Novitec Schaltwegverkürzung, Lester Sideblades, Haubenlifter, Wiechers Domstrebe, Lüftungsschlitze, Hifi Ausbau, Semi Slicks auf 17 Zöllern, Tracktimer mit 10hz GPS
  • Vielen Dank! Genau jetzt macht mein hinteres linkes Lager Geräusche, werde mal anfragen was das bei ATU kostet...

    Mein Auto: MiTo QV MultiAir, Ragazzon Mittelrohr und Endschalldämpfer, Pogea Racing Stage 1plus Software, Lowtec 30/35 mm Tieferlegungsfedern, Lester Heckdiffusor, Sabelt Halbschalensitze mit LM Corse Carbonseitenverkleidung, verstärkte Whiteline Koppelstangen, Forge Ladeluftkühler, A. Trucco Kurbelgehäusedruckminderer, gelochte Brembo Xtra Scheiben vorne und gelochte MTEC Scheiben hinten, leichtere Scara73 Riemenscheibe und Freilauf, PTP Turbodecke, SEV Head Balancer V-2 und Typ F, SEV Wheel-R, SEV Radiator N-2, Asami Engineering Rennölfilter, Inside Ignite REV Zündspulen und VSD alpha 16V Steuergerät, Orque Auspuff- und Motorerdung inkl. Superkondensator, A. Trucco Drosselklappenspacer, Powerflex Motor- und Getriebelagereinsatz (gelb), Orque Drehmomentstütze, OMP Motorraumversteifung, Orque Radhausstreben, Forge Querlenkerstreben, OMP Querlenkerabstützung, DNA Racing Heckstabilisator, zentrale DNA Racing Karosseriestrebe, Ultra Racing Längsstreben, Orque Heckdomstrebe, Eigenbau Strebe hinten unten und Fußraum hinten, Orque Antivibrationsscheiben, Distanzscheiben rundum (SCC vorne, H&R hinten), High Spark Titanradschrauben, Novitec Sport Shifter, Clos Schaltwegsverkürzung, GFB DV+ Blow Off, HG Performance Air Intake mit umgebauten Luftftilterkasten inkl. Tensor Race Filter, Carbonaußenspiegel, Koshi Carbonlenkradblende, -zündschlüsselcover, -scheinwerferrahmen, -DNA-Schaltercover, -scudettocover, -türgriffcover (innen und außen), -mittelkonsolblende und -rückspiegelblende, Novitec Carbonantennenfußcover, Clos Carbonantenne, Orque Carbongurtschlosscover, Cloisonné Embleme, Carbon QV-Logos, schwarze Seitenblinker
  • Etwas zu spät.
    Die neuen Lager sind seit ~3 Monaten verbaut. :-/


    Trotzdem Danke für den Tip!!
    Wird in zwei-drei Jahren beim nächsten Wechsel berücksichtigt.

  • Welchen Hersteller würdet ihr empfehlen? SKF, FAG?

    Mein Auto: MiTo QV MultiAir, Ragazzon Mittelrohr und Endschalldämpfer, Pogea Racing Stage 1plus Software, Lowtec 30/35 mm Tieferlegungsfedern, Lester Heckdiffusor, Sabelt Halbschalensitze mit LM Corse Carbonseitenverkleidung, verstärkte Whiteline Koppelstangen, Forge Ladeluftkühler, A. Trucco Kurbelgehäusedruckminderer, gelochte Brembo Xtra Scheiben vorne und gelochte MTEC Scheiben hinten, leichtere Scara73 Riemenscheibe und Freilauf, PTP Turbodecke, SEV Head Balancer V-2 und Typ F, SEV Wheel-R, SEV Radiator N-2, Asami Engineering Rennölfilter, Inside Ignite REV Zündspulen und VSD alpha 16V Steuergerät, Orque Auspuff- und Motorerdung inkl. Superkondensator, A. Trucco Drosselklappenspacer, Powerflex Motor- und Getriebelagereinsatz (gelb), Orque Drehmomentstütze, OMP Motorraumversteifung, Orque Radhausstreben, Forge Querlenkerstreben, OMP Querlenkerabstützung, DNA Racing Heckstabilisator, zentrale DNA Racing Karosseriestrebe, Ultra Racing Längsstreben, Orque Heckdomstrebe, Eigenbau Strebe hinten unten und Fußraum hinten, Orque Antivibrationsscheiben, Distanzscheiben rundum (SCC vorne, H&R hinten), High Spark Titanradschrauben, Novitec Sport Shifter, Clos Schaltwegsverkürzung, GFB DV+ Blow Off, HG Performance Air Intake mit umgebauten Luftftilterkasten inkl. Tensor Race Filter, Carbonaußenspiegel, Koshi Carbonlenkradblende, -zündschlüsselcover, -scheinwerferrahmen, -DNA-Schaltercover, -scudettocover, -türgriffcover (innen und außen), -mittelkonsolblende und -rückspiegelblende, Novitec Carbonantennenfußcover, Clos Carbonantenne, Orque Carbongurtschlosscover, Cloisonné Embleme, Carbon QV-Logos, schwarze Seitenblinker
  • Mit skf machst du nichts falsch!


    Ein Zwerg, der sich hohe Schuhe kauft, bleibt immer noch ein Zwerg!
    (Bernd Stromberg)

    Mein Auto: Alfa MiTo Turbo tuned by Mazza-Engineering ME-S2, Ansaugung modifiziert, K&N Tauschfilter, Magnaflow 200-Zeller, G-Tech AGA, Forge Wastegate gelbe Feder, Wavetrac Sperre, etc.pp.
  • Mit skf machst du nichts falsch!


    Habe ich gerade bestellt, danke!

    Mein Auto: MiTo QV MultiAir, Ragazzon Mittelrohr und Endschalldämpfer, Pogea Racing Stage 1plus Software, Lowtec 30/35 mm Tieferlegungsfedern, Lester Heckdiffusor, Sabelt Halbschalensitze mit LM Corse Carbonseitenverkleidung, verstärkte Whiteline Koppelstangen, Forge Ladeluftkühler, A. Trucco Kurbelgehäusedruckminderer, gelochte Brembo Xtra Scheiben vorne und gelochte MTEC Scheiben hinten, leichtere Scara73 Riemenscheibe und Freilauf, PTP Turbodecke, SEV Head Balancer V-2 und Typ F, SEV Wheel-R, SEV Radiator N-2, Asami Engineering Rennölfilter, Inside Ignite REV Zündspulen und VSD alpha 16V Steuergerät, Orque Auspuff- und Motorerdung inkl. Superkondensator, A. Trucco Drosselklappenspacer, Powerflex Motor- und Getriebelagereinsatz (gelb), Orque Drehmomentstütze, OMP Motorraumversteifung, Orque Radhausstreben, Forge Querlenkerstreben, OMP Querlenkerabstützung, DNA Racing Heckstabilisator, zentrale DNA Racing Karosseriestrebe, Ultra Racing Längsstreben, Orque Heckdomstrebe, Eigenbau Strebe hinten unten und Fußraum hinten, Orque Antivibrationsscheiben, Distanzscheiben rundum (SCC vorne, H&R hinten), High Spark Titanradschrauben, Novitec Sport Shifter, Clos Schaltwegsverkürzung, GFB DV+ Blow Off, HG Performance Air Intake mit umgebauten Luftftilterkasten inkl. Tensor Race Filter, Carbonaußenspiegel, Koshi Carbonlenkradblende, -zündschlüsselcover, -scheinwerferrahmen, -DNA-Schaltercover, -scudettocover, -türgriffcover (innen und außen), -mittelkonsolblende und -rückspiegelblende, Novitec Carbonantennenfußcover, Clos Carbonantenne, Orque Carbongurtschlosscover, Cloisonné Embleme, Carbon QV-Logos, schwarze Seitenblinker
  • Auch wenn der Beitrag etwas älter ist, hoffe ich noch auf Hilfe.
    Kann man diese Opel Dichtringe auch bei meinem Abarth 595 Competizione Baujahr 2018 an der Hinterachse verwenden ?
    Hoffe das noch einer Bescheid weiss über diese Sache :-)
    Liebe grüße vorab an Alle

  • Moin,


    nja, die Dinger kosten ja nich die Welt.Ich würds einfach ma testen.
    Die Bilder oben sind ja gut. Wenn das bei dir dann genauso aussieht...


    Gruß
    Kraftzwerg

    Wir sind die Borg - Widerstand ist Spannung durch Stromstärke

    Mein Abarth 595: Tursimo - Grigio Quarzo - Leder Braun - Xenon - Heckwischer und Antenne für schlechte Zeiten ausgebaut - Bilstein B14 - Ragazzon ESD - Forge Ansaugschlauch - Bonalume geschlossen - Alpha Competition Shortshifter- LED-Beleuchtung wo legal möglich (feat. E-Prüfzeichen) - Prosport 4in1 Anzeige in OEM Position - untenrum Fluid Film und Mike Sanders - obenrum finish kare 1000P
  • Der O-Ring wird funktionsbedingt so eingebaut nicht lange halten.....

    Ein Leben ohne Abarth ist möglich, aber völlig spaßlos..... :top:

    Mein Auto: Abarth 595 Custom, ....."Sondermodell Vi*gra", klein, blau, hart und potent :-D. 17" Abarth Trofeo mit Pirelli PZeroNero und 16" Dezent-Winterräder; BMC Luftfilter; Forge Ansaugschlauch, G-Tech Hitzeschutzschild, Corsa-Paket; Shiftlight, AC-Short Shifter, J&M Plakete , Climair-Sonnenschutz,, Ragazzon H2 + Inoxcar Flexrohr in Edelstahl, Koni FSD v/h, Brembo gelocht v/h, rote Fischer-Stahlflex-Bremsleitungen, SCC Spurplatten 4x5mm, DNA-Heckstrebe, div. Covers von Paintmodz, Shiftlight, Pogea Stage 1, Philips Ultinon 6000 Boost LED, Beifahrerseitig Feuerlöscher, Schweisstuch und K**ztütenhalter.....das richtige Auto für studierende alte Säcke :-)
  • Moin Abarth-Elaborazione,
    ich finde die Idee an sich wirklich super. :thumbsup:
    Ein Bauteil macht Probleme und man überlegt
    weiter, wie man es verbessern kann. :beifall:


    Und dann macht man sich sogar noch die Mühe und
    stellt es bebildert ins Forum für andere User.... klasse. :top:


    Danke dafür Marcel.


    Da ich einige Jahre in der Dichtungstechnick gearbeitet
    habe, gibt es zu der oben genannten Lösung von meiner
    Seite ein aber:


    Wenn ich Teilenummer und Bilder google, wird mit einem
    Runddichtring ( O-Ring ) gearbeitet.


    Manchmal passen aber das Runde und das Eckige nicht
    100%ig zusammen.


    Ich habe fürs Verständnis mal Bild 1 angehängt.
    ( jaaaa ganz billig selber gemalt :pfeifen: )
    Du kannst dir vielleicht vorstellen, dass besonders die
    Abdichtung von Spritzwasser, Staub und Schmutz im
    Idealfall komplett dicht sein sollte.


    Der O-Ring, selbst wenn er mechanisch vorgespannt
    wird, kann dies aufgrund seiner Form natürlich nicht.


    Kein Vorwurf... LOL


    O-Ringe werden/wurden z.B. auch im Bereich der Hydraulik-Ventile
    extrem häufig eingesetzt.
    Die Ventile haben eine rechteckige Dichtungsnut.
    Mittlerweile sind aber viele Hersteller dazu übergegangen,
    rechteckige Dichtungen zu benutzen.
    Bei Problemen mit der Abdichtung von Ventilblöcken ist das
    auch ein ganz einfacher Weg der Optimierung.
    Flach auf flach funktioniert effektiver als rund auf flach.
    Hat mit der Flächenpressung zu tun.


    Zurück zum Thema:


    Es gibt aber im Bereich der rotierenden Abdichtungen
    noch eine Menge anderer Dichtungsprofile.


    Als ich den Beitrag hier gelesen habe, kam mir sofort
    ein V-Ring in den Sinn. ( Bild 2)
    Dieser wird z.B. bei Pumpen/Elektromotoren zur äußerlichen
    Abdichtung des Lagerträgers genutzt.


    Der Ring sitzt leicht vorgespannt auf der Welle oder wie
    im Fall des Radlagers auf dem Wellenzapfen, dort, wo
    auch der O-Ring montiert ist.
    Die Lippe liegt am Lagerbereich an und dichtet statisch
    ( Stillstand) und/oder dynamisch ( wenn Rotation vorhanden)
    ab.


    Bliebe noch der Umstand einen passenden V-Ring zu finden.


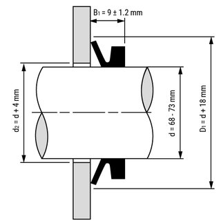
    Beim googeln der Teilenummer findet man bei Ebay eine Angabe:
    Runddichtring 63x9 mm.


    Der Innendurchmesser sollte also 63 mm betragen.
    Ringquerschnitt ( Schnurstärke ) 9 mm.
    x 2 komme ich auf einen Außendurchmesser von 81 mm.
    Einbauraum ( Tiefe ) kann also auch min. 9 mm betragen.


    Im Link steht ein V-Ring, der meiner Meinung nach passend
    sein könnte.


    https://www.kugellager-express…ichtung-va-70-63x75x11-mm


    Ist natürlich nur ein Versuch. Es würde den V-Ring auch für 65 mm
    Wellen geben. Der liegt dann sicher dicht auf der Welle.


    Wenn bei der Montage die Dichtlippe axial vorgespannt wird,
    erhöht sich der Außendurchmesser etwas.


    So sollte man auf einen Lippendurchmesser von 76 oder 77 mm
    kommen.


    Sind pro Seite ca. 2 mm weniger als beim O-Ring.
    Mit der Erinnerung an Bild 1 dürfte der Dichtbereich der Lippe
    also gleich zum O-Ring sein.


    Denke ich werde beim nächsten Radlagerwechsel diesen Weg
    gehen. :thumbup:


    Ich hoffe das war jetzt nicht zu ausführlich oder langweilig. :huh:
    Hatte einfach Lust mal eine technisch verbesserte Alternative
    zur sehr guten Idee auszuführen.


    Maße und Angaben sind natürlich erstmal rein theoretisch mit dem
    was ich auf die Schnelle gefunden habe.
    Mit einem neuen Radlagersatz könnte man sicherlich Maßhaltigkeit
    der V-Ringe besser prüfen.


    Dir auf jeden Fall viel Erfolg beim Abdichten.


    Gruß
    Dennis


    P. S. Der V-Ring ist aus NBR ( 100 Grad ).
    Will man eventuelle Reserven mit einrechnen, einfach
    mal nach den Ringen aus FKM ( Viton) suchen. Das Material geht bis
    200 Grad.

  • So wie ich das sehe, hat der Ring gar keinen Kontakt zum Lager.


    Sieht aus als würde der den Spalt vom Ankerblech abdichten, das von Hinten kein Schmodder in Richtung vor das Blech suppt.

    Gruss John


    "Macht noch mehr Spass mit Zwischengas" :!:

    Mein Abarth 595: Gelbe Banane
  • Jo der schreibt auch.


    „ Opel sieht dafür eine Gummidichtung (für 3€) vor, die zwischen Ankerblech und Achschenkel kommt. Diese soll verhindern das Schmutz und Dreck von hinten in das Radlager gelangt.“


    Wenn man das Lager neu macht, kann nicht schaden das Teil rein zu machen.
    Extra das Lager ausbauen würd ich nicht.

    Gruss John


    "Macht noch mehr Spass mit Zwischengas" :!:

    Mein Abarth 595: Gelbe Banane
  • So Leute , ich hab beim Opel Händler um die Ecke mal diese Gummi Ringe gekauft ( waren vorrätig , Stck.Preis 3 euronen :-)
    Da ich die Bremsen komplett machen muss , mache ich die hinteren Radlager gleich mit.
    Mir war beim letzten hinteren Bremsentausch schon aufgefallen, dass die hinteren Radlager sehr rostig/vergammelt waren von der Rückseite.
    Daher mache ich die nun mit ( kilometerstand 70.000 ) denke das kann nicht schaden dann :-)
    Habe SKF Radlager geholt. Diese haben wirklich wenig Fett im Auslieferungszustand :-?
    Kann ich die mit normalen Mehrbereichsfett auffüllen ? sollte ja so richtig sein.
    innen sieht das bißchen vorhandene Fett so Honigfarben aus.
    Kann ich das mit dem neuen Mehrberreichsfett auffüllen bze. vermischen oder ist das nicht gut ?

  • Gute Idee noch etwas mehr Fett
    zu verwenden. :top:
    Die Fettmenge ist zwar vom Hersteller
    für die Lagerlebensdauer berechnet,
    es wird einem aber Angst und Bange wenn
    man die Lagerabdeckungen von neuen
    Kugellagern demontiert und sieht,
    wie viel ( oder wenig ?( ) Fett dafür
    benutzt wird.


    Das dürfte ohne Probleme mit deinem
    Mehrbereichsfett funktionieren.


    Frohes schaffen. :thumbsup:


    Gruß
    Dennis

Jetzt mitmachen!

Sie haben noch kein Benutzerkonto auf unserer Seite? Registrieren Sie sich kostenlos und nehmen Sie an unserer Community teil!